오늘은 PLC를 이용해서 동력부하를 ON/OFF 제어할 때 설계하는 회로에 대해서 이야기를 해 보려고 합니다.
먼저 동력부하는 MCC (Motor Control Center)에서 전원 및 고장, 사고, 제어를 관제합니다. 그래서 PLC는 동력부하와 직접 연결하는게 아닌 MCC와 연결이 됩니다. 완전 초보 분들은 이게 이해가 잘 안되시는 분들도 많이 뵈었는데, 그래서 아래 그림을 통해서 좀 더 알아보기 쉽게 설명을 드리겠습니다.

이러한 Fan을 현장에 설치한다고 했을 때, 이런 Fan의 Start/Stop 제어, 그리고 과전류나 사고로 인한 고장전류등으로 부터 설비나 인명의 피해를 막기 위해서는 MCC (Motor Control Center)라는 전기 판넬을 이용해야 합니다.

이러한 Panel의 모습을 자주 보신적이 있으실 겁니다. 이런 Panel이 바로 MCC 입니다. 물론 MCC가 이러한 모습에 국한된것은 아닙니다. 여튼 중요한 것은 모터(동력부하)를 제어하고 감시하기 위한 MCC라는 Panel이 존재한다는 것입니다. 그리고 이 MCC는 전기실 혹은 Fan이 있는 현장에 위치하게 되지요. 그런데 현장에 Fan을 비롯한 수많은 설비들을 On/Off하기위해 매번 전기실이나 현장에 갈 수는 없습니다. 매우 비효율 적입니다. 그래서 원격제어를 하기 위해서 혹은 설비들이 순서에 맞게 자동운전이 되도록 하기 위해서는 이 MCC만 있어서는 안됩니다. (완전히 안되진 않지만 MCC 내부에 릴레이들이 많아지고 복잡해 집니다. 그래서 MCC반은 순수하게 설비의 단순 On/Off 및 상태관리를 위해서만 존재하도록 내버려두고 원격제어 및 자동제어용 판넬은 따로 만듭니다.)
이 원격제어 및 자동제어용 판넬은 아주 옛날에는 릴레이반으로도 제작을 했었습니다.

위와 같이 릴레이와 타이머, 카운터를 하드웨어로 구성하여 자동제어 판넬을 만들 수 있습니다. 이런 판넬을 보통 릴레이반이라고 합니다. 그러나 이러한 릴레이반은 설비의 증설이나 개조시에 어려움이 따르고 PLC판넬에 비해 상대적으로 판넬의 사이즈가 커지는 등의 단점이 있어서 요즘은 자동제어 판넬로 보통 PLC판넬을 사용합니다.

릴레이 제어반 대비 PLC로 구성했을 때의 장점은 설비의 증설및 개조가 편리한 점이 가장 크고, 단점은 PLC의 사양이 높아질 수록 좀 더 비싸다 입니다. 하지만 요즘은 PLC도 저렴하게 많이 나오기 때문에 설비의 종류와 제어의 목적에 따라 적절히 선택하면 가격도 훨씬 저렴해 질 수 있습니다.
그래서 일단 기본적인 개요는 자동제어판넬이 직접 설비를 제어하는 것이 아니라, 자동제어 판넬이 설비를 관장하는 전기판넬(MCC판넬)을 제어하고 설비는 전기판넬(MCC판넬)이 제어하는 것이 기본 컨셉입니다. 물론 설비의 사이즈나 종류에 따라 MCC와 PLC판넬을 일체형으로 구성하는 경우도 있긴 하지만 넓은 범위로 보면 위와 같은 컨셉인것은 다를게 없습니다. 아 그리고 어지간 하면 제어판넬과 전기판넬은 분리하는게 좋습니다. 제어판넬에 노이즈가 생길 우려가 많거든요.

여튼 결과적으로 제어는 위와 같이 이루어진다고 생각하시면 됩니다. 그럼 상세하게 회로를 어떻게 구성하게 되는지를 한번 알아보겠습니다.
먼저 FAN(동력부하)의 MCC판넬 회로가 어떻게 구성되는지 알아야겠죠?

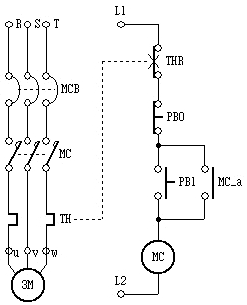
위 회로도는 정말정말 가장 기본적인 3상 전동기의 기동 회로 입니다. 왼쪽회로에 보시면 위에서 부터 RST 삼상전원이 공급되어 MCB(차단기)를 거쳐서 MC(전자접촉기)를 거치고 TH(열동계전기)를 지나서 3M(삼상모터)에 결선되어 있는 것을 알 수 있습니다. 요즘은 TH(열동계전기)를 사용하지 않고 보통 EOCR(전자과전류계전기)을 사용하죠? 여튼 전동기를 보호하기 위한 방법이니 구식이든 신식이든 딱히 상관은 없으니 넘어가도록 하고, 여기서 우리가 알고 넘어가야 하는 것은 MCB(차단기)를 ON하더라도 MC(전자접촉기)를 ON하지 않으면 전동기는 돌지 않는 다는 사실입니다.
정말정말 대충 만든 설비의 경우에는 차단기로도 설비를 ON/OFF 하기도 하지만.... 차단기의 동작수명보다 전자접촉기의 동작수명이 월등하게 길기 때문에 안정성 측면에서 전자접촉기를 이용한 설비의 ON/OFF가 기본이 됩니다. 차단기를 이용하여 설비를 ON/OFF하다가 어느 순간엔가 차단기가 고장났는데 그걸 인지하지 못한다면 커다란 사고가 발생하여도 차단기가 정상작동 하지 않아서 사고의 파급을 막을 수 없게 되고 큰 손해를 입게 되겠죠? 그러니 반드시 전자접촉기를 이용하여야 합니다.
자.. 그럼 전자접촉기를 ON/OFF 하는 회로인 오른쪽 회로를 보겠습니다. L1부터 L2까지 연결된 회로이며, 그 사이에 THR(열동계전기)와 PB0(버튼)이 B접점으로 결선되어 있고, 그 아래에 PB1(버튼)과 MC(전자접촉기), MC_a(전자접촉기 a접점)가 자기유지 회로를 구성하고 있습니다.
동작설명을 하자면 PB1을 누르면 MC가 ON되어 전동기가 ON됩니다. 그리고 MC_a접점도 ON되어 PB1을 누르고 있던 손을 떼어도 MC가 자기유지되어 전동기는 계속 ON상태를 유지하게 됩니다. 그때 사고가 발생하여 TH가 사고를 감지하여 THR(열동계전기)가 작동을 하거나 운전자가 PB0을 직접 누르게 된다면 MC의 자기유지가 OFF되어 동시에 전동기도 운전을 정지하게 됩니다. 이게 전동기의 기본적인 동작 회로와 동작 방식입니다.
그럼 여기서 질문!!
우리가 위에서 자동제어 혹은 원격제어로 설비(전동기)를 직접 제어하는 것이 아니라 MCC를 제어하고 그 MCC가 설비(전동기)를 제어하는 것이 기본적인 원리라고 이야기 했습니다. 그리고 방금 우리는 MCC에 구성되어 있는 기본적인 전동기 ON/OFF 회로를 보았죠. 그럼 우리는 PLC를 이용하여 저 MCC 회로에서 어느 부분을 ON/OFF해주어야 설비(전동기)를 ON/OFF 할 수 있게 되는걸까요?
맞습니다. 바로 MC를 ON/OFF 해야 합니다. 그래서!! 이제 본격적으로 PLC를 이용하여 MC를 ON/OFF하는 회로에 대해서 이야기를 해보려고 합니다.
(이때까지가 서론이었어요.....;;;;;;;;;)
그럼 회로도를 하나 보겠습니다.

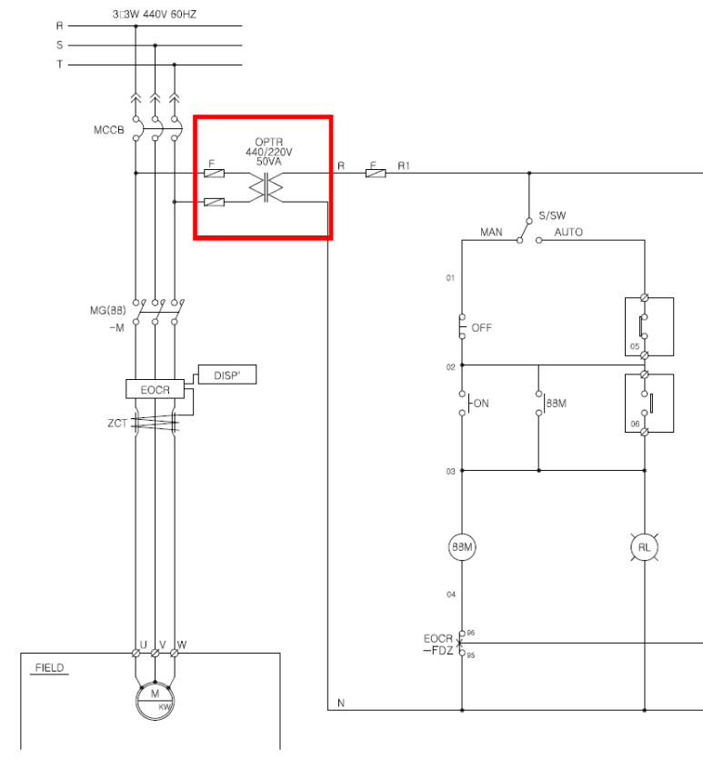
기본적인 3상 모터 직입기동 회로 입니다. 아까 위에서 봤던 회로랑 다른 점은 빨간색 네모 박스로 표시해 둔것과 같이 왼쪽 Main Power회로에서 OPTR(Operation TR)을 이용하여 단상 220V를 만들어서 제어용으로 사용하는 부분이 표현되어 있습니다. 만약에 Main Power가 3상 4선식 380V라면 굳이 TR을 사용하지 않아도 단상 220V를 그냥 사용할 수 있겠죠?

그리고 이제 본격적인 내용을 이야기 해 보겠습니다. 먼저 위 1번 네모박스 부분에서 MAN(Manual)과 AUTO로 제어권한을 지정하도록 되어있습니다. MCC에서 직접 제어를 하거나 PLC에서 원격으로 제어를 할 때 이렇게 제어권한을 정확하게 지정하도록 설계하지 않으면 운전자들끼리 의사소통이 원할하지 않을 때 MCC에서는 계속 켜고 PLC에서는 계속 끄는 등의 문제가 발생할 수 있기도 하고 각각 동시에 운전신호를 입력하게 되면 문제가 발생 할 수 있기 때문에 꼭 필수적으로 설계해야 되는 부분입니다.
스위치를 MAN(Manual)위치에 놓게되면 2번 박스 부분의 MCC Panel의 버튼으로 모터를 기동하거나 정지시킬 수 있으며, AUTO위치에 놓게되면 3번 박스 부분의 PLC Relay 접점으로 모터를 기동하거나 정지시킬 수 있게 됩니다. 여기까지는 이해가 되셨나요? 즉 우리는 PLC에서 Relay를 사용하여 위 회로도와 같이 원격제어 회로를 추가하여 모터를 기동 할 수 있는 것입니다.
여기서 한가지 더 중요한 점이 있다면 꼭 PLC에서 원격으로 제어하는 Relay는 순시접점용도로만 사용해야 한다는 점입니다. 여기서 얘기하는 순시접점용도는 PLC에서 ON/OFF버튼을 누를때만 살거나 죽는 접점을 의미합니다. 즉, PLC에서 원격으로 제어하는 ON/OFF용 Relay접점은 MCC Panel의 버튼과 마찬가지로 MCC Panel의 MC(Magnetic Contact)의 자기유지를 ON해주거나 OFF해주는 용도로만 사용해야 한다는 것입니다. 만약에 그렇지 아니하고 PLC Panel의 Relay자체를 자기유지로 하여 MC(Magnetic Contact)를 ON해주게 된다면 MCC Panel의 EOCR이 트립되어 MC를 OFF해주려고 할 때 PLC Panel의 Relay는 자기유지를 계속 잡고 있게되어 문제가 발생합니다. 당연히 EOCR의 트립신호도 PLC에서 받도록 설계하겠지만 동작의 시간차가 있기 때문에 원할하게 차단되지 않는 위험성이 존재합니다. 반드시 명심해야 합니다.
이해가 되셨을까요?
오늘은 여기까지 하겠습니다.
감사합니다.
제 블로그를 방문해 주셔서 감사합니다.
도움이 되셨다면 공감(좋아요) 부탁드리고,
댓글은 다른분들께도 좋은 정보일 수 있으니
공개로 부탁드립니다.
여러분의 작은 정성이 좋은 포스팅을 생산하는
힘이 된답니다. :)
감사합니다.
'계장 > 계장 설계' 카테고리의 다른 글
| PF, PS, PT, NPT 관용나사 나사산 규격 (BSP, BSPP, BSPT 규격) (2) | 2022.10.18 |
|---|---|
| 계장 설계 - DCL (Document List) (0) | 2022.06.24 |
| 계장 설계 15 - HOOK UP DWG. #2( Flowmeter, Analyzer, Valve 훅업 도면 ) (1) | 2022.05.27 |
| 계장 설계 14 - HOOK UP DWG. #1( 압력계기, 온도계기 훅업 도면 ) (4) | 2022.05.26 |
| 계장 설계 13 - Inter Connection Diagram ( 인터 커넥션 다이아그램 ) (1) | 2022.05.25 |
댓글